SU-Vergaser Düsennadel einsetzen
zurück zu Technik
In SU-Vergasern kommen zwei verschiedene Arten von Düsennadeln zum Einsatz. Bis Anfang der 70er Jahre wurden vorwiegend starr im Vergaserkolben eingeklemmte Düsennadeln verwendet. Ab Ende der 60er Jahre wurden zur Erfüllung Amerikanischer Abgasvorschriften federnd im Vergaserkolben gelagerte Düsennadeln entwickelt, die ein stets gleichbleibendes und reproduzierbares Austreten des Kraftstoffes aus der Düse gewährleisten sollten. Starre Düsennadeln gibt es in den Grunddurchmessern 0.09, 0.1, 0.125 und 3/16”. Federbelastete Düsennadeln in 0.09 und 0.1”. Es werden grundsätzlich nur Düsen und Nadeln des gleichen Grunddurchmessers zusammen verwendet.
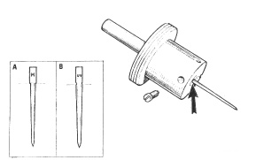
Alle Düsennadeln haben einen Absatz bzw. eine Nut als Maß für das Einsetzen in den Kolben. Bei starren 0.09 und 0.1” Düsennadeln muß dieser Absatz bündig mit dem Kolbenboden sein. Bei 0.125” Düsennadeln (fast ausschließlich in HD8 Vergasern verbaut) muß die Nut gerade eben im Kolben verschwunden sein. 3/16” Düsennadeln werden bis zum Anschlag in den Kolben geschoben und dann festgeklemmt. Alle 0.09 und 0.1” Düsennadeln haben eine 0.125” Aufnahme im Kolben! 0.125” Düsennadeln für HD8 Vergaser haben ebenfalls eine 0.125” Aufnahme. 0.125” Nadeln für H8 Vergaser sowie alle 3/16” Düsennadeln haben eine 5/32” Aufnahme!
Federbelastete Düsennadeln haben am oberen Ende ihrer Aufnahme einen Ring aufgepresst, der gleichzeitig als Halter für die Feder sowie auch als Auflage auf den Nadelhalter dient. Auch diese Nadeln haben einen erkennbaren Absatz Zwischen Aufnahme und “Dosierteil”. Dieser Absatz muß, wie bei den starren Nadeln, auch grundsätzlich bündig mit dem Kolbenboden sein, wenn die Nadel montiert ist.
Für Vergaser, die Serienmäßig mit federbelasteten Düsennadeln ausgerüstet sind, gibt es zwei verschiedene Sorten von Kolben. Kolben mit glattem Boden wurden überwiegend in HS-Vergasern verbaut. HIF-Vergaser ab Anfang der 70er Jahre sind häufig mit einem Kolben mit Nut im Boden ausgerüstet. Düsennadelhalter für diese Kolben sind kürzer! Trotzden muß der Absatz der Düsennadel bündig mit dem Kolbenboden eingebaut werden und NICHT bündig mit der Nut!


